1.阿里云配置二级域名和独立一级域名解析至阿里云服务器公网IP
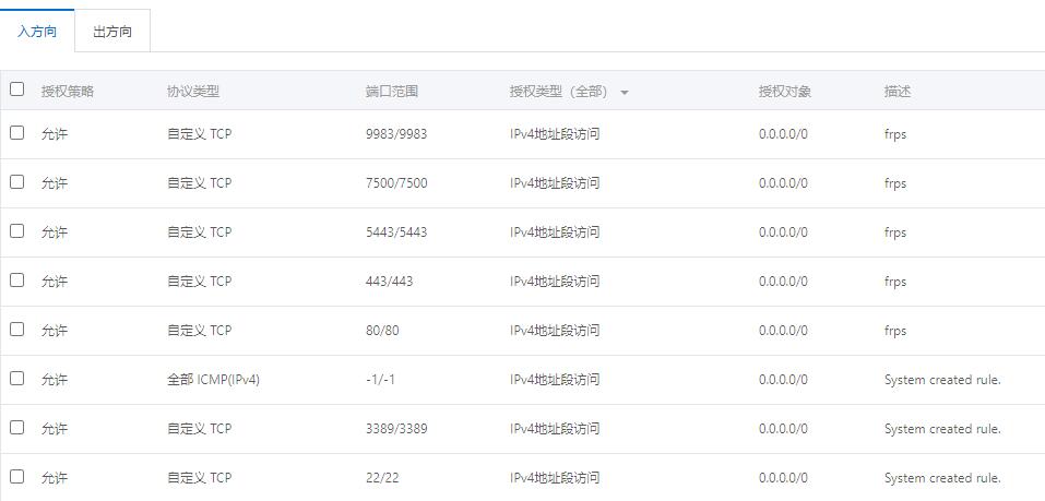
2.阿里云服务器安全组规则开放端口
3.阿里云服务器部署frps服务端
3.1官网下载https://github.com/fatedier/frp/releases下载最新版本,centos系统适用frp_0.49.0_linux_amd64版本,下载执行命令:
wget https://github.com/fatedier/frp/releases/download/v0.49.0/frp_0.49.0_linux_amd64.tar.gz
如果下载比较慢的,可以先下载frp_0.49.0_linux_amd64文件后复制到/<root>的/root目录下,执行安装命令:
tar -zxvf frp_0.49.0_linux_amd64.tar.gz #解压 cd frp_0.49.0_linux_amd64 #进入目录 rm -f frpc frpc_full.ini frpc.ini frps_full.ini #删除无关文件
3.2 编辑frps.ini文件,执行命令:
vi frps.ini
进行文件编辑,输入i键
i
编辑最左下方出现 — INSERT –进行编辑代码,开始清空文件内容输入快捷键esc键,
输入冒号 : 再输入 .,$d ;
: .,$d
清空内容后使用notepad软件打开文件进行编辑,内容如下,把下面代码粘贴到SSH之后,esc键,输入 :wq保存。(:wq保存编辑操作退出, :wq! 保存编辑强制退出)。
[common]
# 设置连接端口
bind_port = 5443
# 设置dashboard服务登陆端口
dashboard_port = 7500
# 设置dashboard登录信息
dashboard_user = admin
dashboard_pwd = mima
# 设置日志显示级别{debug, info, warn, error)
log_level = debug
# 设置日志最大天数
log_max_days = 5
# 设置特权模式是否开启,开通后web,ssh等使用都可以直接在客户端设置
privilege_mode = true
# 设置特权模式token值
privilege_token = mima
# 设置转发端口
vhost_http_port = 80
vhost_https_port = 443
# 设置动态二级域名
subdomain_host = hsxin.cn
将文件夹frp_0.49.0_linux_amd64改成frps便于启动服务的命令安装目录3.3一致,cd返回目录,执行命令:
mv frp_0.49.0_linux_amd64 frps
3.3新建:
vi /lib/systemd/system/frps.service
输入 i 键,编辑最左下方出现 — INSERT –进行编辑代码,开始清空文件内容:esc键,输入冒号 : 再输入 .,$d ;清空内容后使用notepad软件打开文件进行编辑,内容如下,把下面代码粘贴到SSH之后,esc键,输入 :wq保存。编辑代码如下:
[Unit] Description=frps service After=network.target network-online.target syslog.target Wants=network.target network-online.target [Service] Type=simple #启动服务的命令(此处写你的frps的实际安装目录) ExecStart=/root/frps/frps -c /root/frps/frps.ini [Install] WantedBy=multi-user.target
3.4依次执行以下命令:
systemctl enable frps #启动 systemctl start frps #自启动 systemctl status frps #查看日志
出现绿色文字:Active: active (running) since Sun 2020-04-12 00:47:26 CST; 8s ago,说明成功了,如果出现红色文字:Active:failed在检查一下配置文件
输入Q键返回,输入reboot重启后,再试下域名访问,如果可以正常访问说明自启动部署成功了!
重启应用:systemctl restart frps 停止应用:systemctl stop frps 停止开机自启动:systemctl disable frps 查看应用的日志:systemctl status frps
4.大内网服务器部署frpc服务端
版本选择和服务器一样,不能比服务器版本高
反代的一级域名解析至阿里云服务器公网IP,比如abc.com,www.abc.com解析如下:
4.1官网下载https://github.com/fatedier/frp/releases下载最新版本,以frp_0.49.0_linux_amd64版本为例,执行命令:
wget https://github.com/fatedier/frp/releases/download/v0.49.0/frp_0.49.0_linux_amd64.tar.gz
如果下载比较慢的,可以先下载frp_0.49.0_linux_amd64.tar.gz文件后复制到/<root>的/root目录下,执行安装命令:
tar -zxvf frp_0.49.0_linux_amd64.tar.gz #解压 cd frp_0.49.0_linux_amd64 #进入目录 rm -f frps frps_full.ini frps.ini frpc_full.ini #删除无关文件
编辑frpc.ini文件,执行命令:
vi frpc.ini
进行文件编辑,输入i键
i
编辑最左下方出现 — INSERT –进行编辑代码,开始清空文件内容输入快捷键esc键,
输入冒号 : 再输入 .,$d ;
: .,$d
清空内容后使用notepad软件打开文件进行编辑,内容如下,
输入i键
i
编辑最左下方出现 — INSERT –进行编辑代码
把下面代码粘贴到SSH之后,esc键,输入 :wq保存。(:wq保存编辑操作退出, :wq! 保存编辑强制退出)。
# [common] is integral section [common] # 设置服务器IP地址,以阿里云为准 server_addr = 111.111.111.1111 # 设置连接端口,和服务端端口一致 server_port = 5443 # 默认设置 admin_addr = 127.0.0.1 # 自行修改 admin_port = 7500 # console or real logFile path like ./frpc.log # log_file = ./logs/frpc.log # debug, info, warn, error log_level = debug log_max_days = 3 # decide if exit program when first login failed, otherwise continuous relogin to frps # default is true login_fail_exit = true # for privilege mode,和服务端一致密码 privilege_token = mima [web-001-baota] #设置web域名访问 type = http local_ip = 127.0.0.1 local_port = 8888 use_gzip = true #绑定二级域名,阿里云上面以hsxin.cn设置,访问结果就是baota.hsxin.cn subdomain = baota [web-002-haohuahong] #设置web域名访问 type = http local_ip = 127.0.0.1 local_port = 80 use_gzip = true #绑定一级域名 custom_domains = abc.com,www.abc.com
将文件夹frp_0.49.0_linux_amd64改成frpc便于启动服务的命令安装目录4.3一致,cd返回目录,执行命令:
mv frp_0.49.0_linux_amd64 frpc
4.3新建:
vi /lib/systemd/system/frpc.service
输入 i 键,编辑最左下方出现 — INSERT –进行编辑代码,开始清空文件内容:esc键,输入冒号 : 再输入 .,$d ;清空内容后使用notepad软件打开文件进行编辑,内容如下,把下面代码粘贴到SSH之后,esc键,输入 :wq保存。编辑代码如下:
[Unit] Description=frpc service After=network.target network-online.target syslog.target Wants=network.target network-online.target [Service] Type=simple #启动服务的命令(frpc的实际安装目录) ExecStart=/root/frpc/frpc -c /root/frpc/frpc.ini [Install] WantedBy=multi-user.target
4.4依次执行以下命令:
systemctl start frpc #启动 systemctl enable frpc #自启动 systemctl status frpc #查看日志
出现绿色文字:Active: active (running) since Sun 2020-04-12 00:47:26 CST; 8s ago,说明成功了,如果出现红色文字:Active:failed在检查一下配置文件。
输入Q键返回,输入reboot重启后,再试下域名访问,如果可以正常访问说明自启动部署成功了!
重启应用:systemctl restart frpc 停止应用:systemctl stop frpc 停止开机自启动:systemctl disable frpc 查看应用的日志:systemctl status frpc
4.5强制关机后,重启发现不能正常访问网站,检查了一下是宝塔面板的nginx程序停止,启动即可!
5.原站点转移到大内网centos系统宝塔面板进行访问过程
5.1.被转移站点数据库进入phpmyadmin全部选择数据表名进行打包备份,web下打包整个网站数据
5.2.被转移站点www.kaixinit.com解析到新的公网IP
5.3.frpc增加web站点反代custom_domains:www.kaixinit.com和kaixinit.com两个
5.4.宝塔面板linux下新建站点www.kaixinit.com kaixinit.com,和数据库名,测试下,成功访问就说明反代和解析正常。
5.5.把打包的网站数据放置到该站点目录下,解压到站点同级目录,修改wp-config.php文件内数据库密码
5.6.进入phpmyadmin,在新数据库名下,把被转移的备份数据库导入进去
5.7.因网址,数据库名都是相同,一些替换图片url就不需要,更换完成后就可以正常访问站点。
6.原站点转移到新域名itlap.cn的centos系统宝塔面板进行访问过程
6.1.被转移站点数据库进入phpmyadmin全部选择数据表名进行打包备份,web下打包整个网站数据
6.2.被转移站点www.itlap.cn解析到新的公网IP
6.3.frpc增加web站点反代custom_domains:www.itlap.cn和itlap.cn两个
6.4.宝塔面板linux下新建站点www.itlap.cn、itlap.cn,和数据库名itlap,测试下,成功访问就说明反代和解析正常。
6.5.把打包的网站数据放置到该站点目录下,解压到站点同级目录,修改wp-config.php文件内数据库名和用户名为itlap及密码
6.6.进入phpmyadmin,在新数据库名下,把被转移的备份数据库导入进去,修改wp_options选项的siteurl和home为http://www.itlap.cn
6.7.因网址不同,一些替换图片url需替换,操作如下:
备注:UPDATE wp_posts SET post_content = REPLACE( post_content, ‘老地址’, ‘新地址’ )
更换完成后就可以正常访问站点。
参考转移站点本站原文:http://www.kaixinit.com/info/maintenance/1833.html
如果要测试查询原因,可按照普通命令执行如下: ./frps -c ./frps.ini ./frpc -c ./frpc.ini 一般重启后执行: cd frp_0.27.0_linux_amd64 nohup ./frps -c ./frps.ini & 停止执行frps命令:ps -e |grep frps 得到数字后kill掉:kill 17467<
原创文章,作者:开心电脑网,如若转载,请注明出处。





