话不多说,直接实战,感谢VV指导!!
服务端frps.ini文件设置
[common]
# 设置连接端口
bind_port = 5443# 设置dashboard服务登陆端口
dashboard_port = 7500# 设置dashboard登录信息
dashboard_user = kaixinit
dashboard_pwd = kaixinit# 设置日志显示级别{debug, info, warn, error)
log_level = debug# 设置日志最大天数
log_max_days = 5# 设置特权模式是否开启,开通后web,ssh等使用都可以直接在客户端设置
privilege_mode = true# 设置特权模式token值
privilege_token = kaixinit# 设置转发端口
vhost_http_port = 80
vhost_https_port = 443# 设置动态二级域名
subdomain_host = abc.cn
防火墙必须开放相应端口:
netsh advfirewall firewall add rule name=”Open Port 5443″ dir=in action=allow protocol=TCP localport=5443
netsh advfirewall firewall add rule name=”Open Port 7500″ dir=in action=allow protocol=TCP localport=7500
文件路径存放:C:\Users\Administrator根目录放入frps.exe, frps.ini两个文件
执行命令:
frps.exe -c frps.ini

运行成功后,测试登陆,如下图,说明服务端运行成功

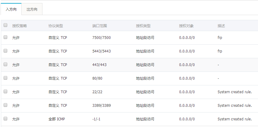
因为是在阿里云的ecs服务器,需要开放端口,在网络安全-安全组-选择最右边的配置规则-开始设置安全组规格如下:

客户端frpc.ini文件设置
# [common] is integral section
[common]
# 设置服务器IP地址,以阿里云为准
server_addr = *.*.*.*
# 设置连接端口,和服务端端口一致
server_port = 5443
# 默认设置
admin_addr = 127.0.0.1
# 自行修改
admin_port = 7400# console or real logFile path like ./frpc.log
#log_file = ./logs/frpc.log# debug, info, warn, error
log_level = debuglog_max_days = 3
# decide if exit program when first login failed, otherwise continuous relogin to frps
# default is true
login_fail_exit = true# for privilege mode,和服务端一致
privilege_token = kaixinit[kaixinit-001-web]
#设置web域名访问
type = http
local_ip = 127.0.0.1
local_port = 80
use_gzip = true
#绑定独立域名
custom_domains = www.abc.com[kaixinit-002-web]
#设置web域名访问
type = http
local_ip = 127.0.0.1
local_port = 801
use_gzip = true
#绑定二级域名,阿里云上面以acb.cn设置,访问结果就是www.abc.cn
subdomain = www[kaixinit-003-remote]
#设置远程桌面
type = tcp
local_ip = 127.0.0.1
local_port = 3389
#设置远程桌面连接端口,在阿里云开放此端口
remote_port = 9983
以上设置测试80端口绑定独立域名需用绿色web服务器文件如:EasyWebSvr,打开右键图标设置,设置好以后就可以运行

文件路径存放:C:\Users\GEN10根目录放入frps.exe, frps.ini两个文件
执行命令:
frpc.exe -c frpc.ini
或者做bat文件,新建文本,输入frpc -c frpc.ini,另存为frpc.bat文件,放在和frps.ini同目录,以管理权限执行即可。

运行结果如下:


需要源码的可以和我联系mailto:254949686@qq.com

原创文章,作者:开心电脑网,如若转载,请注明出处。
评论列表(1条)
自己搭建折腾弄过ngrok和frp,后来一直在用nat123内网穿透服务很方便